Universidad de Buenos Aires

ASISTENTE DE ARMADO DE PIEZAS

A 15 personas les gusta este proyecto

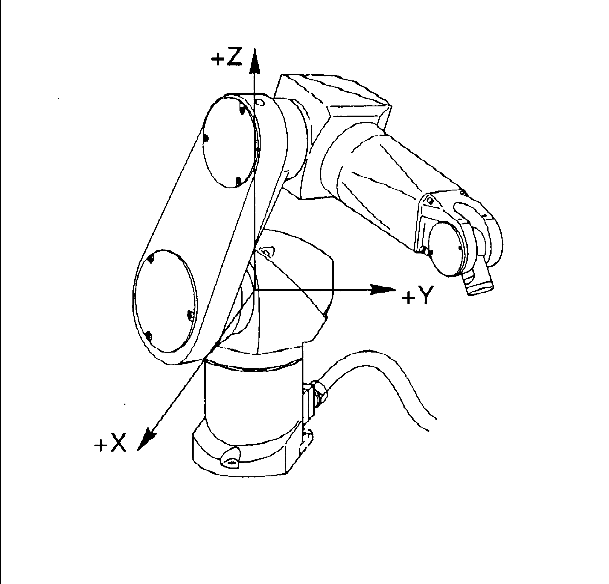
El asistente de armado de piezas es un instrumento de precisión que garantiza el ensamble de pequeños elementos y el soldado automático. El programador solo deberá prefigurar el encastre y el dispositivo interpreta el resto de los factores.

Muy bueno Andre!!

Uno de mis favoritos

Excelente, me gustaría ver más.